商用車后橋轉向系統技術:原理、設計與安全
摘要
本研究綜述了應用于商用車的后橋或隨動橋轉向系統的概念與技術。大多數商用車尺寸較大,擁有兩根以上車軸。若僅前橋可轉向,在急轉彎、狹窄道路及狹小空間內操控這類車輛極具挑戰性。此外,隨著轉向角增大和車軸數量增多,輪胎磨損也會加劇。如今商用車中應用的后橋轉向技術可有效解決這一問題。后橋轉向系統技術通過在后橋之一上安裝名為轉向油缸的油缸實現,油缸控制是后橋轉向系統的核心目標。這類轉向機構主要分為兩種:一種采用主從油缸概念,另一種是相對較新的概念,被稱為智能車軸、自轉向車軸或獨立于前輪轉向的智能轉向車軸。本研究將詳細探討這些不同類型的轉向機構,包括其具體描述、優缺點及安全考量。
1、引言
大量貨物通過商用車從生產者運輸至消費者手中。在陸地面積廣闊的國家,商用車是國內物流行業的支柱,韓國便是其中之一。因此,對商用車進行微小改進都可能對物流行業產生重大影響。
由于機動性不足,倉庫內的許多車輛需要更大空間,且在狹小空間內難以駕駛,導致倉庫內車輛裝卸成本高昂。此外,若交通基礎設施不夠發達,缺乏筆直寬闊的道路,貨物向山區的運輸也會受到阻礙。后橋轉向(RAS)系統在此類場景中發揮重要作用,其通過液壓或電液系統提升車輛的機動性。部分后橋轉向系統安裝在后橋上,與前橋無任何液壓連接,而另一些則需要此類連接,具體取決于后橋轉向系統的設計,本研究將對此進行詳細探討。
研究人員發表的研究涉及汽車的電動牽引力控制及自動駕駛卡車的預測牽引力控制算法,但均未采用后輪轉向技術。若在這些車輛中添加后輪轉向功能,將能積極提升機動性,并可能實現更優的牽引力控制。
研究人員對后橋轉向系統的研究至少已有30年。研究人員研究強調了電動汽車中涉及或基于后輪轉向系統的控制策略的重要性。除電動汽車相關研究外,研究人員的研究工作聚焦于其他應用場景下后橋轉向系統的控制器開發、最小時間最優控制及分層同步控制策略。1989年,伊爾馬茲和穆罕默德為三軸掛車的后橋設計了機械和液壓轉向系統。對于車軸數量較多的車輛,后橋轉向系統尤為重要。以九軸車輛為研究對象,開展了主動后橋轉向的轉向連桿優化研究。后橋轉向系統可應用于多個后橋,例如德馬格 AC 160-1 移動式起重機便配備了該系統。此外,研究人員的研究分別探討了商用車智能后橋轉向系統、卡車和客車前后橋的增益 / 相位控制以及中型卡車的車輛操控性和穩定性。本研究將綜述不同類型的后橋轉向機構及其優缺點,并闡述商用車安裝后橋轉向系統后如何保障安全性。目前已有多家商業公司提供此類安裝服務,許多現代商用車已將后橋轉向系統作為標準配置。然而,正如本研究所示,若了解其機構原理并充分掌握安全考量,便可為任何特定商用車設計后橋轉向系統。
后橋轉向系統能為電動拖拉機提供急需的機動性。研究人員的研究聚焦于農用全輪驅動電動拖拉機的控制與機動性。
后橋轉向系統的具體組成取決于應用場景,但其最常見的部件包括安裝在車軸上的液壓油缸、泵、安全機構和液壓閥。在設計任何轉向系統時,車輪轉向角都應遵循阿克曼轉向原理。阿克曼轉向幾何結構由德國車輪制造商格奧爾格?蘭肯斯珀格于 1816 年在慕尼黑發明。該原理適用于擁有四個及以上輪胎的車輛。為避免輪胎打滑,每個輪胎的轉向角都應遵循阿克曼原理,后橋轉向系統同樣需遵循這一原理,否則將導致輪胎磨損加劇并易發生打滑現象。

圖1、兩軸車輛的阿克曼原理

圖 2、在電動客車中應用的擴展阿克曼原理
當車軸數量增加時,轉向幾何結構會變得更為復雜,但基本原則保持不變,即車輛轉彎時輪胎不應發生打滑。研究人員的研究將阿克曼轉向應用于自動駕駛車輛的駕駛控制及傳統車輛平行泊車的自動轉向系統。
2、后橋轉向系統設計類型
2.1 主從油缸概念
采用主從油缸和對中機構概念的后橋轉向系統設計于 20 世紀 90 年代問世,圖 3 展示了其中一個示例。

圖3、采埃孚股份公司的專利
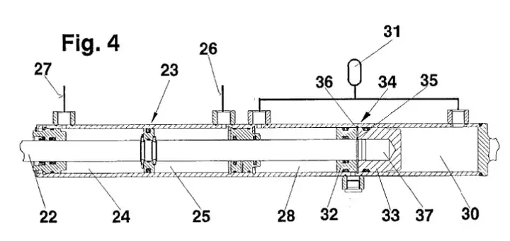
圖 3 所示為德國采埃孚股份公司(ZF Friedrichshafen AG)申請專利的一種后橋轉向系統設計。其核心思路是在后橋上安裝一個油缸和對中機構,后橋的轉向油缸稱為從油缸,前橋的轉向油缸稱為主油缸。主油缸和從油缸通過機械和液壓裝置連接,主油缸的位移由用戶直接控制,而從油缸的位移則由主油缸控制。同時,如圖 4 所示,該設計還提出了一種對中機構。

圖4、布置在從油缸上的對中機構
該對中機構利用蓄能器,在需要時使從油缸回到對中位置。
在此類設計中,主油缸和從油缸之間的關系通過圖 3 所示的液壓元件建立,該關系基于前文討論的阿克曼轉向幾何結構。

圖5、采埃孚Servocom后橋轉向系統
如圖 5 所示,采埃孚 Servocom 后橋轉向系統是市場上的成熟產品之一,其采用主從油缸概念應用于商用車。在圖5中,編號 2 和編號 4 分別為主油缸和從油缸。從油缸配備了與圖 4 所述類似的對中機構。
2.2 智能轉向設計
博世移動解決方案(Bosche Mobility Solutions)和 VSE 等公司提供針對用戶車輛的定制化后橋轉向系統解決方案,它們提出了智能轉向或線控轉向解決方案,所有計算均由控制器或電子控制單元(ECU)完成。
智能轉向基于角度傳感器、速度傳感器的數據、診斷測試結果以及阿克曼原理,這些信息均輸入至電子控制單元(ECU)。隨后,電子控制單元(ECU)向控制液壓油缸運動的閥門發送指令,以實現期望的轉向角。
博世移動解決方案提供一種標準規格的后橋轉向液壓油缸,該油缸需與其他三個部件配合使用,如圖8所示。

圖6、VSE卡車轉向系統
該系統可作為獨立系統安裝,重量僅為 24 千克,其他規格如圖 8 所示。

圖7、向右轉向狀態下的后橋轉向系統

圖8、博世移動解決方案后橋轉向系統
如圖 9 所示,該系統工作電壓為 24 伏直流電,需與車輛電池連接。此外,為減少不利影響,系統重量應盡可能小,因為若后橋轉向系統重量過大,最終將導致轉向力增加。活塞桿縮回時的作用力為 41 千牛,伸出時為 52 千牛,這表明活塞兩側的面積不同,即該后橋轉向系統采用的是單桿雙作用油缸。活塞桿的縮回和伸出長度均在 0.95 米以內,這將決定車輛后 / 隨動橋安裝該系統所需的連桿機構和平臺幾何結構。

圖9、博世后橋轉向系統技術參數
3、安全考量
3.1 后橋轉向系統的安全問題
配備后橋轉向系統的車輛在高速行駛時轉向,由于轉向角度增大導致急轉彎,可能會發生側翻事故。已有研究提出兩種解決方案:第一種是采用對中機構,第二種是配備先進控制器,該控制器在高速時可反向控制后輪轉向方向。后橋上用于轉向的油缸需要具備一種機制,能夠使其回到車輪直行且不轉向的位置。這是因為當車輛高速行駛時,若后橋轉向系統啟動轉向,急轉彎可能導致車輛側翻。因此,當車輛速度達到或超過某一限值時,任何后橋轉向機構都需將油缸帶回對中位置。
3.2 對中機構
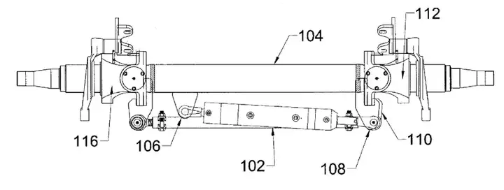
對中機構可強制后橋回到對中位置,使車輪轉向直行方向。當車輛速度達到特定限值時,通過激活對中機構,后輪轉向將斷開,從而防止車輛側翻。圖 4 展示了一種此類對中機構,圖 10 則展示了一種更新型的對中機構。

圖10、具有冗余對中功能的力轉向車軸總成

圖11、對中油缸橫截面視圖
在圖 11 中,兩個對中壓力端口(208 和 210)位于油缸(102)的兩端,而圖 4 中的對中端口則位于油缸的右側。這兩種系統均利用蓄能器提供對中壓力。
3.3 平移運動機構
當車輛高速行駛且駕駛員轉動前橋時,若后輪像低速行駛時那樣反向轉向以提高機動性,將會非常危險。然而,若后輪與前輪同向轉向,車輛將在保持行駛方向的同時平移位置。研究人員對這一概念進行了研究,如圖 12 所示。

圖12、研究的卡車底盤
此類機構的難點在于實現高精度控制。由于車輛速度較高,若車輪未能精確達到期望的轉向角,輪胎可能會遭受嚴重磨損,并使車輛面臨后續安全隱患。
3.4 安全機構的控制策略
明確對中機構何時接合或斷開,以及后輪何時應與前輪反向轉向至關重要。如前所述,速度傳感器感知車輛速度并直接連接至電子控制單元(ECU)或控制器,控制器根據車輛速度傳感器和前角傳感器收集的數據,指令所需的安全機構接合或斷開。此外,冗余設計也極為重要,因為若后橋安全機構失效,在高速行駛時可能引發事故。因此,一些智能轉向系統配備了監控系統,持續監控所有部件,一旦發生故障,系統將自動回到對中位置,以避免事故發生。
角度傳感器確定車輛轉向狀態的當前數據,幫助電子控制單元(ECU)判斷是否激活后橋轉向。選擇合適的角度傳感器或對傳感器進行校準至關重要。已有相關研究探討了這些角度傳感器在商用車中的作用。
圖 13 展示了電子控制單元(ECU)如何根據前輪轉向角和車輛速度確定后橋轉向角的示例。

圖13、采埃孚Servocom后橋轉向-電子控制轉向系統

圖14、韋伯液壓公司的帶對中功能的轉向油缸

圖15、圖13所示油缸的規格參數
韋伯液壓(Weber Hydraulik)公司為移動式起重機后橋轉向系統生產帶對中功能的轉向油缸。為確保安全,該油缸上安裝了止回閥和溢流閥,從而保障管道不會發生爆裂。圖 15 列出了該對中機構的規格參數,該系統具有較高的堅固性,這是一項重要的安全特性。
從上述圖表可以看出,該油缸需連接至 210 巴的額定壓力源,之后可在一個方向上提供 84.1 千牛的對中力,在另一個方向上提供 80.8 千牛的對中力。這意味著,一旦對中機構激活,需要超過 84.1 千牛或 80.8 千牛的力才能使油缸偏離對中位置。因此,當車輛速度超過特定值時,后橋將難以轉向,該設計雖提高了安全性,但成本也相對較高。因此,車輛的成本與安全性之間需要達到平衡。
4、結論
在不久的將來,由于后橋轉向系統能提供更出色的機動性,它將成為商用車不可或缺的一部分。根據車軸額定載荷的不同,后橋轉向系統的規格參數也會有所差異。
要實現車輛后橋轉向,車輪轉向角必須不違背阿克曼原理,否則后橋轉向系統將對輪胎和車輛安全造成嚴重損害。
后橋轉向系統最常見的兩種技術包括主從油缸概念以及智能轉向或線控轉向概念。未來,研究重點將轉向智能轉向或線控轉向技術,因為越來越多的車輛將向電動化和環保化方向發展,而電池技術的進步是該技術在未來車輛中得到廣泛應用的另一重要因素。
后橋轉向系統采用對中機構(更為常見)或平移機構,以確保車輛在高速行駛時的安全性。后橋轉向系統需準確判斷何時接合或斷開安全機構,從而保障車輛安全。
最新的后橋轉向系統采用的電子部件多于液壓部件。未來,后橋轉向系統的研究人員將重點開發各類角度傳感器和電子控制單元(ECU)中使用的控制算法,而非液壓泵、油箱和油缸等其他部件。

(添加微信號NewCarRen咨詢)
